详解315耐克“气垫门”的三生三世
详解315耐克“气垫门”的三生三世
事件回顾
315晚会,耐克登上黑榜
只因这款鞋:Hyperdunk 08 FTB

(注:科比退役后,为向其职业生涯致敬,同时纪念08年科比在北京奥运的全胜战绩而发售的一限量款篮球鞋)
根据此前耐克的中文官网介绍
(注:目前该页面已无法访问)
鞋后跟内有独家的ZOOM AIR气垫
但说好的气垫呢?

有网友对此发帖表示:
早知道你没气垫
我们仿制的也不瞎折腾了…

对此,耐克最初的回应仅为:
产品描述失误
YOU SAY WHAT?

定价上咋没失误?
此鞋在耐克官网上标价1499元
相比于外形类似的普通无气垫鞋
每双贵500-600元
同款鞋在美国官网显示有气垫
您说宣传失误?

据报道:类似事件耐克已不是第一次
2011年,在中国销售的Hyperdunk 2011篮球鞋
(也是Hyperdunk这款,难道是巧合?)
前掌就比美国同款少了气垫

更让中国消费者愤怒的是:
这款在国内售价1299元的篮球鞋
竟然比美国同款还贵出了约500元
经媒体曝光,耐克给出的最终解决方案是:在收回货品的同时一次性全额退款并提供4500元赔偿

按照当时销量,小赢掐指一算
只花了200万人民币就平息了一次舆论危机
对于耐克这个全年净赚 37.6 亿美元的品牌
这公(违)关(法)成本未免也太低了
对耐克的行为大家见仁见智
小赢作为技术咖,还是聊聊缓震技术
为什么多了个气垫就贵那么多?
里面技术含量很高吗?
不就是搞个塑料鞋垫里面充上点气吗?
很多看似原理简单的东西,实施起来却不一般,气垫鞋能走到今天也是经历了世代的变迁,小赢接下来就带你走进Air气垫的三生三世:
AIR第一世:AIR SOLE
说起气垫,那还要追溯到航天技术!
1977年,时年34岁的NASA工程师弗兰克鲁迪将空气注入薄膜制成鞋底,从而使鞋获得缓震性;并将该技术申请了专利(美国发明公开号:US4287250A)。

弗兰克鲁迪拿着自己的专利技术,几乎跑遍了各大体育用品商的经理办公室,大多是碰壁而回。但最终得到了NIKE创始人菲尔奈特的认可,收购了该专利;并开始进一步研发、生产。所以有人称NIKE是气垫鞋的鼻祖也不为过。
1979年,NIKE推出了第一双气垫鞋
Air Tailwind:搭载AIR SOLE气垫

在缓震效果、稳定性和反应速度方面,AIR SOLE气垫表现较为均衡,目前多用在中低端运动鞋上,只是通常埋藏在发泡材料鞋底中而不可见。鞋上凡是带有“AIR”字样,一般都默认采用AIR SOLE 气垫。
AIR第二世:AIR MAX
AIR MAX气垫由AIR SOLE改进而来,具有多气室、多重压力的特点。不同压力气室的布局提供不同的避震性,低气压气室显著提高了运动的舒适性,高压气室则能增强运动鞋的稳定性。
结合不同形状/功能的气室布局,让消费者针对不同运动有不同的选择。
耐克在专利申请(美国发明公开号:US4817304A)中对AIR MAX技术进行了全面的介绍。

1987 年,NIKE运动鞋Air Max1问世,成为首款搭载第二代气垫专利技术的运动鞋,同时开创了可视气垫时代!

通过在气垫布局和气压值的调整等方面的不断优化改进,AIR MAX慢慢从后掌气垫发展成为全掌气垫,在其申请的专利中(美国发明公开号:US6055746A)记载了后掌和全掌AIR MAX的气垫布局形式。

在此基础上,伴随着生产工艺和设计水平的全面提高,搭载全掌AIR MAX气垫的Air Max 97最终诞生了。

在实现全掌气垫之后,耐克开始致力于其他气垫形式,其中之一就是Tuned Air(可调式气垫)。其在起点表面可见半球状框架结构,用于随时调节人体运动中的平衡。

(注:该技术最先使用于1999年的Air Max Plus,后因制造成本过高没有广泛商业推广)
在首款AIR MAX诞生20年后
实现了完全无发泡材料全掌气垫
Air Max 360于2006年面世

看看下图AIR MAX的进化过程,能否感受到科技创新一步一步的走来

尽管实现了消除发泡材料全掌化
但不意味着进化的结束……
AIR第三世:ZOOM AIR
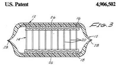
作为本次“气垫门”的主角,ZOOM AIR技术,简而言之,就是一片扁平状的气垫再加上织物和尼龙纤维丝共同组成的缓震系统。
在NIKE公司的专利申请中(美国发明公开号:US4906502A)披露了ZOOM AIR的雏形:其将织物材料置于气垫的上下面,再使用热压的方式将尼龙纤维固定在织物材料之间,以起到连接上下壁的作用。

还是看实物图来得直接

还是看不清?
让我们切开看一下

这些纤维是怎么工作的呢?
正常状态下,灌注的高压气体具有膨胀的趋势,尼龙纤维会被拉直绷紧,以维持气垫的形状。

当受到外力挤压时,高压气垫产生减震缓冲作用,再结合尼龙纤维丝的张力与气压共同完成回弹反馈

动起来看一下

再来一组仿真

纤维的存在将运动员大部分的受力吸收,并将一部分力量反馈给运动员;相比AIR MAX,ZOOM AIR更加轻薄、反馈也更强;
1995年推出的ZOOM Flight 95篮球鞋(下图),被认为是ZOOM AIR的基础版

那时候气垫的名字:Tensile Air(点击看大图鞋底)
其灵感其实源自F-15战斗机机翼复杂的条索状构造

在基础版上,ZOOM AIR发展变的多元化
有置于中底内,也有置于鞋垫内,
有前掌、后掌、前后掌分离ZOOM
当然还有最受欢迎的全掌ZOOM
第一双搭载全掌ZOOM AIR气垫的
是这款:Air Jordan 12

从此鞋开始,Sneaker们(运动鞋爱好者)为表达穿着的舒适性,还发明了一个名词,叫做:
踩屎感!!!

随后ZOOM MAX气垫出现了
ZOOM MAX=ZOOM AIR+AIR MAX
一言以概之就是:
AIR MAX的空间、气柱换成ZOOM AIR纤维丝
有效的结合了两者的优点
(小赢提问:这属于组合发明吗?)

还有一款鞋不得不提
Air Foamposite One
可能是NIKE史上用料最夸张的量产鞋
喷泡一体成型的鞋面以及丰富的配色
总能成为人们关注的焦点

但重视内涵的小赢却关注到
该鞋首次奢侈地采用了双层气垫配置
全掌+后掌ZOOM气垫层叠
踩屎感更加强烈
记住下面的公式(一般人我不告诉他)
Air Foamposite One=全掌+后掌ZOOM
作为NBA最霸气的现役巨星-勒布朗詹姆斯

以其名字命名的球鞋更加特别
搭载了分区HEX ZOOM(六角形ZOOM)

在耐克公司的专利申请(美国发明公开号US2006230636A1)中,对该技术有所记载:将ZOOM AIR用六角形进行分割,以在保持ZOOM AIR高回弹性特点的同时显著提高其灵活性,为穿着者在球场上做出快速切换运动提供了更多的稳定性。
这种模块化设计还方便设计师使用压力测绘技术

根据测试数据,以对运动员最有帮助的方式确定ZOOM气垫安放的位置,从而提供精准的缓震与回馈动力。
结 语
如果抛开耐克的营销策略和对中国消费者的态度不谈,在缓震科技的技术上,小赢透过耐克公司长达几十年的专利布局,能够看到其在研发上的用心和进步。所以目前也形成了多品类的气垫类型。总结起来:
AIR SOLE:入门级气垫,经济实用、性价比高。至于脚感—你懂的!
AIR MAX:厚气垫,更强调缓震,要有足够冲(大)击(体)力(重)才有效,否则反馈感较低,说白了就是“硬”。
ZOOM AIR:薄气垫(后期也有厚的),更强调快速反馈,相对较软。
跑鞋:ZOOM AIR更多,AIR MAX基本是给新手或者当休闲鞋穿准备的。
篮球鞋:中锋AIR MAX更多,而后卫、灵活型内线ZOOM AIR更多。
创新为消费者带来舒适和更好的体验
一直是科技粉小赢称赞并分享的
对耐克的下一代产品小赢永远期待
只是希望“气垫门”不要再有下一代
最后,作为看着科比的球长大的一代
用科比职业生涯的美妙瞬间
缅怀一下小赢们的青春
当然,也再展示一下那些漂亮的鞋



-
- 没了这几条巷子,西乡塘区的人真的“活不下去”......
-
2024-09-01 04:51:19
-
- 盘点十四部戏曲老电影,你都看过吗?
-
2024-09-01 04:49:04
-
- 实纪:白银连环杀人案14年杀害11人,最小8岁孩子,28年后破案
-
2024-09-01 04:46:49
-
- 最新健康教育学试卷及答案
-
2024-09-01 04:44:34
-
- 男人克制感情的表现 看看你的他是不是这样
-
2024-09-01 04:42:19
-
- 不吉利!毛不易回应“哇唧唧哇倒闭了”
-
2024-09-01 04:40:05
-
- 蔡妍:大S的丈夫只是喜欢我的PP,我们不是真的恋人
-
2024-09-01 04:37:50
-
- 摩托车链条大全
-
2024-09-01 04:35:35
-
- 中国经典十七部警匪电视剧 警匪类型的电视剧那些最好看?
-
2024-09-01 04:33:20
-
- 佛教寺庙四月初八举行“浴佛节”,佛门浴佛仪式的功德利益是什么
-
2024-08-30 21:20:19
-
- 中国最新“核潜艇”提上日程,排水量迎来突破,有着全球打击能力
-
2024-08-30 21:18:04
-
- 天才女主是隐世家族的小公主从小宠到大那种,专治白莲花又A又飒
-
2024-08-30 21:15:49
-
- 史瓦西半径2400万公里!银河系中心超大质量黑洞,到底有多可怕?
-
2024-08-30 21:13:35
-
- 女人三十豆腐渣?信了,你就输了
-
2024-08-30 21:11:20
-
- 江西出名的10道赣菜,每一道都是江西人的心头爱,看完流口水
-
2024-08-30 21:09:05
-
- 加泰罗尼亚为什么一定从西班牙独立?阿拉贡王国历史简介
-
2024-08-30 21:06:51
-
- Jeab Lalana公开自己从泰国小姐变帅女孩的原因
-
2024-08-30 21:04:35
-
- 《东宫》番外·永娘视角
-
2024-08-30 21:02:21
-
- 假面骑士:被官方打脸的传言,小明没有历史,不存在他的异类骑士
-
2024-08-30 21:00:06
-
- 八年全面抗战之十(长沙大火源于国民党的焦土抗战)
-
2024-08-30 12:14:28



同一个id怎么取消共同来电和短信(iphone同一个id怎么取消来电同步)