被山寨抢了商标,凤凰天使韩剧社求助网友留言作证
被山寨抢了商标,凤凰天使韩剧社求助网友留言作证
今天(12月6日),凤凰天使韩剧社的一条微博引起了广大网友的关注。

凤凰天使韩剧社因商标被福州市鼓楼区元荣科技信息有限公司抢先注册,不得不面临复议取证。
凤凰天使致力于提供大量韩国影视剧、韩国综艺资源,我们现在所看到的大部分韩剧都是凤凰天使字幕组翻译的,凤凰天使在粉丝中具有颇高的影响力。
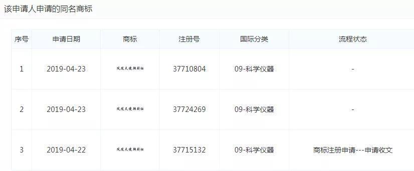
然而“凤凰天使韩剧社”商标却在2019年4月23日被福州市鼓楼区元荣科技信息有限公司注册,核准使用在第9类科学仪器上,目前已经通过初审公告。

这家公司还申请了另外三件“凤凰天使韩剧社”商标。

更有意思的是,这家公司正在运营一个叫“凤凰天使韩剧社”的微信公众号。

而真正的“凤凰天使韩剧社”公众号,其实是这个。

山寨抢了正品的品牌商标,一旦注册成功,很容易让公众产生混淆,这也是为什么凤凰天使提出异议的原因,因为商标被抢注的代价实在太大了。
商标如果被抢注,我们该怎么办?
1、如果商标正在公告期的,企业可以向商标局提出异议来维护自身的合法权益。
2、商标异议无效并商标被注册成功的话,企业可以自商标注册之日起五年内,在先权利人或者利害关系人可以请求商标评审委员会宣告该注册商标无效,因为对于恶意注册的,商标不受五年的时间限制的。
3、如果对方3年内未使用商标的话,企业可向商标局提出撤销,如果确实没有使用,那么商标是被必撤的。
4、实在不行的话只能够通过商标交易来获得商标,不过可想而知,既然是被恶意抢注,如果企业想通过商标转让来获得商标的话,那么其需要花费的价值是非常大的。
说了这么多,实际上都是事后补救的措施。要想避免商标被抢注,就应该从源头入手,一开始就做好商标布局,这样才能避免后期因商标被抢注带来一系列的麻烦。
素材来源网络,侵删。

PS:商标注册、版权登记、专利申请、贯标咨询,找一品知识产权。
-
- 被称4000年一遇的美女,鞠婧祎
-
2024-12-06 09:46:42
-
- LOL:NaMei微博寻队复出,曾被拳头评为“世界第一ADC”
-
2024-12-06 09:44:27
-
- 中华女子学院只招女生吗?男生也有机会哦
-
2024-12-06 09:42:12
-
- 盘点下杨洋这些年换过的发型,最后一款很少见
-
2024-12-06 09:39:57
-
- 画江湖之不良人:不良帅为何出岛,李茂贞再战星云团生死几何?
-
2024-12-06 09:37:42
-
- 第七届世界军人运动会开幕式
-
2024-12-06 09:35:27
-
- 盗墓笔记,小哥守护青铜门,这个设定是为了给吴邪时间成长吗?
-
2024-12-06 09:33:13
-
- 中国四大自然奇观
-
2024-12-06 01:39:28
-
- 运动员退役以后能享受多少补助?吴敏霞:你可能想象不到
-
2024-12-06 01:37:14
-
- 图文解说,一目了然,让你认清月季和玫瑰
-
2024-12-06 01:34:59
-
- 是的 我错过了你 可思念又何曾放过我
-
2024-12-06 01:32:44
-
- 石家庄十大洗浴中心之“天鹅湖大酒店”(一)
-
2024-12-06 01:30:29
-
- 热带风暴的定义及命名规则,你知道多少?
-
2024-12-06 01:28:14
-
- 南宁水果最多最便宜的批发市场,你去过吗?
-
2024-12-06 01:25:59
-
- 男士围巾的各种围法 秋冬围巾打造型男气质
-
2024-12-06 01:23:44
-
- 浪胃仙被疑假吃,无吞咽吃4人份饭,否认离婚有娃,网友:谁敢要
-
2024-12-06 01:21:29
-
- 黄家驹25年前帅照曝光,网友:帅气有才华,在今天绝对是C位出道
-
2024-12-06 01:19:14
-
- 三本男主黑化文,唯有心尖上的你,才能洗涤我黑暗的灵魂
-
2024-12-05 17:25:32
-
- 盘点世界杯五大美女,德国天才为她神魂颠倒,第一名来自中国
-
2024-12-05 17:23:17
-
- 那位主持过《黄金100秒》近半年的90后蔺清瑜,你还记得吗?
-
2024-12-05 17:21:02



多地火车站小巷子惊现“站街女”,50元一次,大爷:很常见经常去
“最红裸模”张筱雨:凭借大胆的写真集火爆全网,如今40岁仍单身