喷雾器原理(喷雾器介绍)
喷雾器原理(喷雾器介绍)
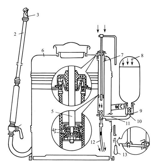
雾其实是水的微滴现有的喷雾器有四种 用的是伯努利原理伯努利原理说的是在同一流质里,流速大,压强小;流速小,压强大,下面我们就来说一说关于喷雾器原理?我们一起去了解并探讨一下这个问题吧!

喷雾器原理
雾其实是水的微滴。现有的喷雾器有四种。 用的是伯努利原理。伯努利原理说的是在同一流质里,流速大,压强小;流速小,压强大。
流体会自动从高压流向低压。在通过三叉管时,低速流动的水流向高速的流动的空气。水被高速空气撕成一小滴一小滴(设想水龙头里流出的水,刚开始速度慢,是水柱。但后来速度逐渐增大后就变成一滴一滴了)。这些小水滴喷出来后就成了雾。
相关标签:
-
- 斛珠夫人什么时候播出(斛珠夫人播出时间)
-
2025-06-23 16:11:46
-
- 杜小月是谁演的(杜小月是袁立演的)
-
2025-06-23 16:09:32
-
- 浪淘沙古诗(浪淘沙原文和译文)
-
2025-06-23 16:07:18
-
- 蜀道难原文(蜀道难的原文)
-
2025-06-23 16:05:03
-
- 丹桂花的功效与作用(丹桂花的功效与作用简述)
-
2025-06-23 16:02:49
-
- 马来西亚落地签证VOA
-
2025-06-23 16:00:35
-
- 神探狄仁杰4之情花金人案英蔓的扮演者是谁
-
2025-06-23 15:58:21
-
- 斯诺克世界排名怎么排
-
2025-06-23 15:56:06
-
- clinique倩碧黄油用法(CLINIQUE倩碧黄油)
-
2025-06-23 15:53:52
-
- 足三里的准确位置图解(用这个方法,100%找准足三里)
-
2025-06-23 15:51:38
-
- qq空间说说怎么置顶(教你如何玩转QQ空间说说尾巴)
-
2025-06-23 15:49:24
-
- 刀剑神域手机壁纸记得收藏哦
-
2025-06-16 05:40:45
-
- 太原第一热电厂240米高烟囱爆破拆除 系中国国内最高纪录
-
2025-06-16 05:38:31
-
- 你知道lobby除了有大厅的意思,还可以表达“游说”吗?
-
2025-06-16 05:36:16
-
- 广东体育节目单(11月15日)
-
2025-06-16 05:34:02
-
- 澳门气象局将发出一号风球
-
2025-06-16 05:31:48
-
- 他任北部战区陆军政委,已晋升中将
-
2025-06-16 05:29:34
-
- 郑州市树木园,森林氧吧!夏日纳凉遛娃好去处
-
2025-06-16 05:27:19
-
- 金坛是一个金坛子吗?
-
2025-06-16 05:25:05
-
- 龚玥菲因《新金瓶梅》中潘金莲性感美艳而闻名!
-
2025-06-16 05:22:51



知青廖晓东儿女现状(知青廖晓东丈夫近况)
多地火车站小巷子惊现“站街女”,50元一次,大爷:很常见经常去